¡®ºÒ¹ý¸®º£ÀÌÆ®¡¯ »ïÁøÁ¦¾à 18°³ ǰ¸ñ ³»ÀϺÎÅÍ 3°³¿ù°£ ÆÇ¸Å¾÷¹«Á¤Áö...µà½ºÆ¾Á¤ .°ÖÅõÇöŹ¾× µî
2021³â 09¿ù 01ÀÏ 13½Ã 42ºÐ ÀÔ·Â

±â»ç ³»¿ë »ðÀÔ À̹ÌÁö
¡ã½Ä¾àó °ø½Ã ĸó


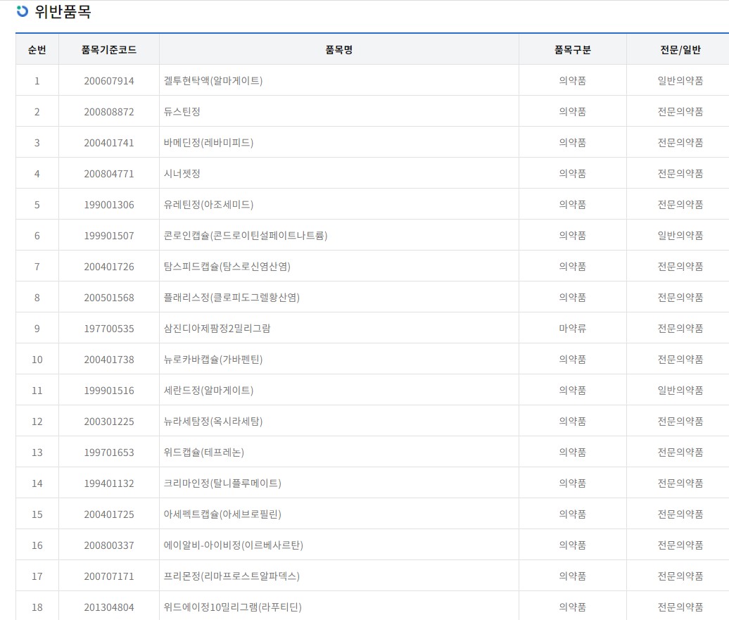
[¿Óóµ¥Àϸ®](ÁÖ)»ïÁøÁ¦¾àÀÇ µà½ºÆ¾Á¤ .°ÖÅõÇöʾ×(¾Ë¸¶°ÔÀÌÆ®) ½Ã³ÊÁ¬Á¤ ¹Ù¸ÞµòÁ¤(·¹¹Ù¹ÌÇÇÆ®) µî 18°³ ǰ¸ñÀÌ ºÒ¹ý ¸®º£ÀÌÆ®¸¦ Á¦°øÇÑ ÇøÀÇ·Î ½Ä¾àó·ÎºÎÅÍ ÆÇ¸Å¾÷¹«Á¤Áö 3°³¿ùÀÇ ÇàÁ¤Ã³ºÐÀ» ¹Þ¾Ò´Ù.

 

1ÀÏ ½Ä¾àó °í½Ã¿¡ µû¸£¸é ½Ä¾àó´Â ÀÇ·áÀο¡ ´ëÇÑ ¸®º£ÀÌÆ® ÇøÀÇ¿¡ ¿¬·çµÈ »ïÁøÁ¦¾à 18°³ ǰ¸ñ¿¡ ´ëÇØ ÆÇ¸Å¾÷¹«Á¤Áö 3°³¿ùÀÇ ÇàÁ¤Ã³ºÐ ³»·È´Ù.

 

½Ä¾àó´Â °í½Ã¿¡¼­ ¡°(ÁÖ)»ïÁøÁ¦¾àÀÌ 2013³â 1¿ù°æºÎÅÍ 2016³â 3¿ù°æ±îÁö ÀÇ·áÀο¡°Ô 18°³ ǰ¸ñÀÇ Ã¤Åäýó¹æÀ¯µµ¤ý°Å·¡À¯Áö µî ÆÇ¸ÅÃËÁøÀ» ¸ñÀûÀ¸·Î ÇÕ°è 1170¸¸¿ø »ó´çÀÇ °æÁ¦Àû ÀÌÀÍÀ» Á¦°øÇÑ »ç½ÇÀÌ ÀÖ´Ù¡±°í Àû½ÃÇß´Ù.

 

ÇàÁ¤Ã³ºÐ ÀÏÀÚ´Â 8¿ù 19ÀÏÀ̸ç, ÇØ´ç ǰ¸ñ¾÷¹«Á¤Áö 3°³¿ùÀº 9¿ù 2ÀϺÎÅÍ ³»³â 12¿ù 1ÀϱîÁöÀÌ´Ù.

±â»ç ³»¿ë »ðÀÔ À̹ÌÁö
¡ã½Ä¾àó °ø½Ã ĸó