±¹Á¦¾àǰ ºÒ¹ý¸®º£ÀÌÆ® 19°³ ǰ¸ñ '3°³¿ù ÆÇ¸ÅÁ¤Áö'...½Ä¾àó ÇàÁ¤Ã³ºÐ ³»·Á
2020³â 08¿ù 22ÀÏ 23½Ã 37ºÐ ÀÔ·Â
[¿Óóµ¥Àϸ®]±¹Á¦¸ð»ç¶óÀ̵åÁ¤ ±¹Á¦Ç÷ç¿Á¼¼Æ¾Ä¸½¶ ±Û¶óºñ½ºÁ¤ µî ±¹Á¦¾àǰÀÇ 19°³ ǰ¸ñÀÌ ½ÄǰÀǾàǰ¾ÈÀüó·ÎºÎÅÍ ÆÇ¸Å¾÷¹«Á¤Áö 3°³¿ùÀ̶ó´Â ÇàÁ¤Ã³ºÐÀ» ¹Þ¾Ò´Ù. 

½Ä¾àó´Â Áö³­ 14ÀÏÀÚ·Î ±¹Á¦¾àǰ 19°³ ǰ¸ñ¿¡ ´ëÇØ ÇØ´ç ǰ¸ñ ÆÇ¸Å¾÷¹«Á¤Áö 3°³¿ù(08.25~11.24) óºÐÀ» ³»·È´Ù°í °ø½ÃÇß´Ù. 

 ½Ä¾àó´Â ÇàÁ¤Ã³ºÐ ÀÌÀ¯¿¡ ´ëÇØ ¡°ÆÇ¸Å ÃËÁøÀ» ¸ñÀûÀ¸·Î ÀÇ·áÀÎ, ÀÇ·á±â°ü °³¼³ÀÚ ¶Ç´Â ÀÇ·á±â°ü Á¾»çÀÚ µî¿¡ ±ÝÀüÀ» Á¦°øÇØ ¹ý·üÀ» À§¹ÝÇß´Ù¡±°í ¹àÇû´Ù. Áï ºÒ¹ý ¸®º£ÀÌÆ®¸¦ Á¦°øÇØ ¾à»ç¹ýÀ» À§¹ÝÇ߱⠶§¹®¿¡ ±¹Á¦¾àǰÀÌ ÀÌ °°Àº ÇàÁ¤ óºÐÀ» ¹Þ°Ô µÆ´Ù.

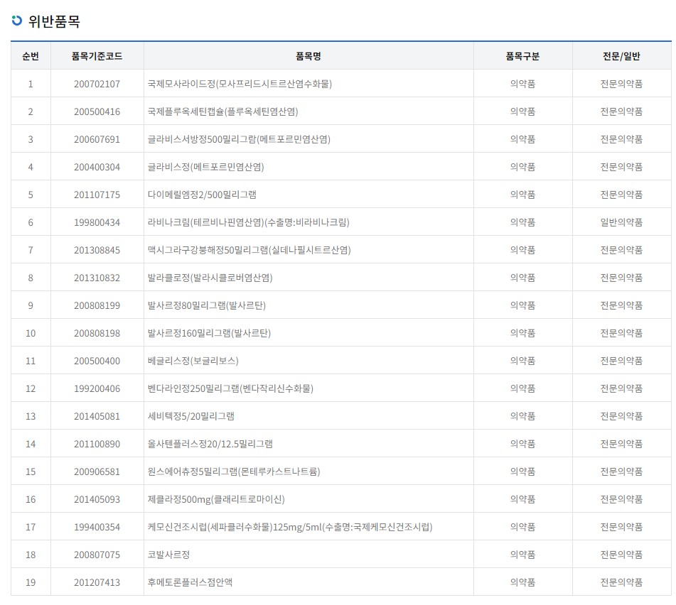
½Ä¾àó°¡ À̹ø¿¡ ÇàÁ¤Ã³ºÐÀ» ³»¸° 19°³ ǰ¸ñÀº ´ÙÀ½°ú °°´Ù. 

±¹Á¦¸ð»ç¶óÀ̵åÁ¤, ±¹Á¦Ç÷ç¿Á¼¼Æ¾Ä¸½¶, ±Û¶óºñ½º¼­¹æÁ¤500¹Ð¸®±×¶÷, ±Û¶óºñ½ºÁ¤, ´ÙÀ̸޸±¿¥Á¤2/500¹Ð¸®±×·¥, ¶óºñ³ªÅ©¸², ¸Æ½Ã±×¶ó±¸°­ºØÇØÁ¤50¹Ð¸®±×·¥, ¹ß¶óŬ·ÎÁ¤, ¹ß»ç¸£Á¤80․160¹Ð¸®±×·¥, º£±Û¸®½ºÁ¤, º¥´Ù¶óÀÎÁ¤250¹Ð¸®±×·¥, ¼¼ºñÅØÁ¤5/20¹Ð¸®±×·¥, ¿Ã»çÅÙÇ÷¯½ºÁ¤20/12.5¹Ð¸®±×·¥, ¿ø½º¿¡ÀÌÃòÁ¤5¹Ð¸®±×·¥, Á¦Å¬¶óÁ¤500mg, Äɸð½Å°ÇÁ¶½Ã·´125mg/5ml, Äڹ߻縣Á¤, ÈĸÞÅä·ÐÇ÷¯½ºÁ¡¾È¾× ÀÌ´Ù.

±â»ç ³»¿ë »ðÀÔ À̹ÌÁö